Реле контроля трехфазного напряжения РКН-3-17-15 обнаружение коротких провалов (10мс)
|
РКН-3-17-15 АС230В/АС400В УХЛ4
|
стандарт |
3370.00 руб. с НДС
|
|
РКН-3-17-15 АС230В/АС400В УХЛ2
|
спец.изделие |
4538.00 руб. с НДС
|
|
РКН-3-17-15 АС58В/АС100В УХЛ4
|
спец.изделие |
4538.00 руб. с НДС
|
| РКН-3-17-15 АС58В/АС100В УХЛ2 | спец.изделие |
4538.00 руб. с НДС
|
-
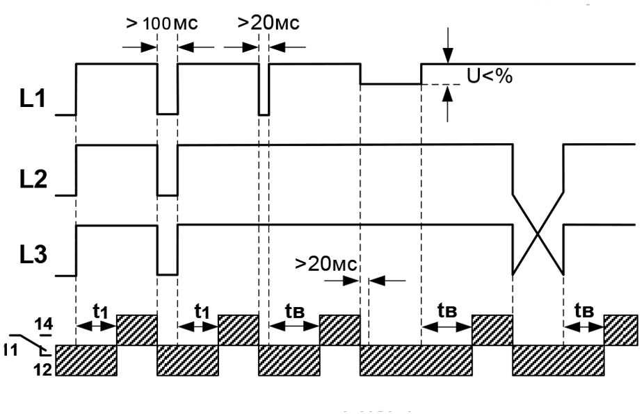
Обнаружение провалов напряжения ниже установленного порога длительностью от 10мс
-
Контроль снижения напряжения по одной, двум или трём фазам ниже установленного порога
-
Контроль обрыва фаз
-
Контроль "слипания" фаз
-
Не требует дополнительного напряжения питания
-
Функция "памяти" аварии
», красный индикатор режима «Память», три зелёных/красных индикатора фаз «L1», «L2», «L3» .РАБОТА РЕЛЕ
| Вид аварии или состояние реле | Состояние индикаторов |
| Напряжение на любой из фаз ниже порога срабатывания |
индикаторы фаз включены красным на фазе/фазах с пониженным напряжением, индикатор аварии "U<" мигает |
| Активен режим «Память» |
индикатор «Память» мигает |
| Нарушено чередование фаз |
индикаторы фаз включены зеленым, индикаторы аварии "U<" и "Память" поочередно мигают |
| Слипание фаз |
индикаторы аварийных фаз включены красным, индикатор аварии "U<" и индикатор «Память» одновременно медленно мигают |
| Выход частоты за допустимые пределы |
индикаторы фаз включены зеленым, индикаторы аварии "U<" и "Память" одновременно быстро мигают |
| Реле включено |
индикатор реле " |
| Реле выключено |
индикатор реле " |
| Отсчет времени срабатывания реле |
индикатор реле " |
|
Параметр
|
Ед.изм.
|
РКН-3-17-15 AC58В/AC100В
|
РКН-3-17-15 AC230В/AC400В
|
| Номинальное напряжение питания фазное/линейное Uном |
В
|
58/100
|
230/400
|
|
Максимальное допустимое фазное/линейное напряжение
|
В
|
90/150
|
340/560
|
| Частота напряжения питания | Гц | 45 ... 65 | |
| Погрешность порога срабатывания | ±5% от Uном | ||
| Погрешность установки порога срабатывания | ±5% от Uном | ||
| Гистерезис срабатывания | В | 12 | |
| Минимальная длительность обнаруживаемого провала напряжения | мс | 10 | |
| Диапазон регулирования порога срабатывания на снижение напряжения от Uном | 70...95% | ||
| Время включения реле t1 при подаче напряжения питания | с |
1 с для t возврата 1с, |
|
| Время готовности устройства к работе | с | 0.2 | |
| Потребляемая мощность, не более | ВА | 4 | |
| Количество и тип контактов | 2 переключающие группы | ||
| Номинальный ток контактной группы | А | 8 (АС1) / 3.2 (АС3) | |
| Максимальный суммарный ток групп контактов | А | 8 (АС1) / 3.2 (АС3) | |
|
Максимальное коммутируемое напряжение
|
В
|
250 | |
|
Максимальное напряжение между цепями питания и контактами реле
|
В
|
АС2000 (50Гц - 1 мин)
|
|
|
Механическая износостойкость, не менее
|
циклов
|
1х107
|
|
|
Электрическая износостойкость, не менее
|
циклов
|
1x105 (цикл Вкл. 1с. / Выкл. 9с) | |
|
Помехоустойчивость от пачек импульсов в соответствии с ГОСТ Р 51317.4.4-99 (IEC/EN 61000-4-4)
|
|
уровень 3 (2кВ/5кГц)
|
|
| Помехоустойчивость от перенапряжения в соответствии с ГОСТ Р 51317.4.5-99 (IEC/EN 61000-4-5) | уровень 3 (2кВ А1-А2) | ||
| Климатическое исполнение и категория размещения по ГОСТ 15150-69 (без образования конденсата) | УХЛ4 или УХЛ2 | ||
| Диапазон рабочих температур | 0C |
-25…+55 (УХЛ4)
-40…+55 (УХЛ2)
|
|
| Температура хранения | 0C | -40...+70 | |
| Степень защиты по корпусу / по клеммам по ГОСТ 14254-96 | IP40 / IP20 | ||
|
Относительная влажность воздуха
|
80% | ||
|
Высота над уровнем моря
|
м
|
2000
|
|
|
Рабочее положение в пространстве
|
|
произвольное
|
|
|
Режим работы
|
|
круглосуточный
|
|
| Габаритные размеры | мм | 17.5 х 90 х 63 | |
|
Масса
|
кг
|
0,08
|
|
| Срок службы | лет | 10 | |
| Наименование |
Заказной код
(артикул)
|
Наименование файла | Файл для скачивания | Дата файла |
|
РКН-3-17-15 АС230В/АС400В УХЛ4 |
4640016933976 |
Руководство по эксплуатации | PDF Скачать v11 | 09.25 |
| PDF Скачать v10 | 01.25 | |||
| 3D модель | STEP Скачать | 04.25 |



